Product Summary
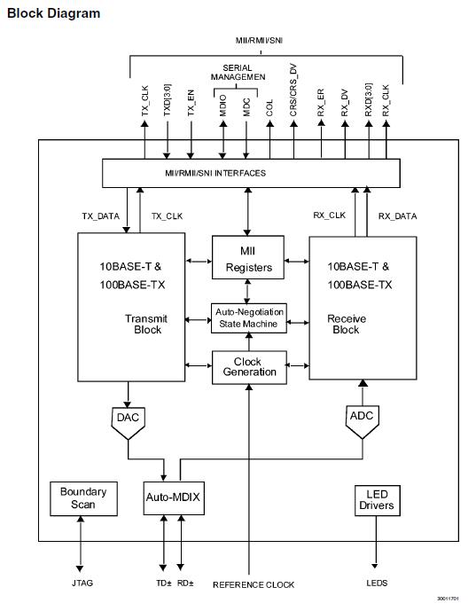
The DP83848VV is a Extended Temperature Single Port 10/100 Mb/s Ethernet Physical Layer Transceiver. It was designed to meet the challenge of these new applications with an extended temperature performance that goes beyond the typical Industrial temperature range. The DP83848VV is a highly reliable, feature rich, robust device which meets IEEE 802.3u standards over an EXTENDED temperature range of -40℃ to 105℃. This device is ideally suited for harsh environments such as wireless remote base stations, automotive/transportation, and industrial control applications. The applications of the DP83848VV include Automotive/Transportation, Industrial Controls and Factory Automation, General Embedded Applications.
Parametrics
DP83848VV absolute maximum ratings: (1)Supply Voltage (VCC): -0.5 V to 4.2 V; (2)DC Input Voltage (VIN): -0.5V to VCC + 0.5V; (3)DC Output Voltage (VOUT): -0.5V to VCC + 0.5V; (4)Storage Temperature (TSTG ): -65℃ to 150℃; (5)Max. Die Temperature: 121.5 ℃; (6)Lead Temp. (TL) (Soldering, 10 sec.): 260 ℃; (7)ESD Rating (RZAP = 1.5k, CZAP = 100 pF): 4.0 kV.
Features
DP83848VV features: (1)Extreme Temperature from -40℃ to 105℃; (2)Low-power 3.3V, 0.18μm CMOS technology; (3)Low power consumption <270mW Typical; (4)3.3V MAC Interface; (5)Auto-MDIX for 10/100 Mb/s; (6)Energy Detection Mode; (7)25 MHz clock out; (8)SNI Interface (configurable); (9)RMII Rev. 1.2 Interface (configurable); (10)MII Serial Management Interface (MDC and MDIO); (11)IEEE 802.3u MII; (12)IEEE 802.3u Auto-Negotiation and Parallel Detection; (13)IEEE 802.3u ENDEC, 10BASE-T transceivers and filters; (14)IEEE 802.3u PCS, 100BASE-TX transceivers and filters; (15)IEEE 1149.1 JTAG.
Diagrams

![]() |
![]() DP83016AUG |
![]() Other |
![]() |
![]() Data Sheet |
![]() Negotiable |
|
||||
![]() |
![]() DP8308 |
![]() Other |
![]() |
![]() Data Sheet |
![]() Negotiable |
|
||||
![]() |
![]() DP8310 |
![]() Other |
![]() |
![]() Data Sheet |
![]() Negotiable |
|
||||
![]() |
![]() DP8311 |
![]() Other |
![]() |
![]() Data Sheet |
![]() Negotiable |
|
||||
![]() |
![]() DP83223 |
![]() Other |
![]() |
![]() Data Sheet |
![]() Negotiable |
|
||||
![]() |
![]() DP83223V |
![]() |
![]() IC NETWORK TRANSCEIVER 28-PLCC |
![]() Data Sheet |
![]() Negotiable |
|
||||
(China (Mainland))









