Product Summary
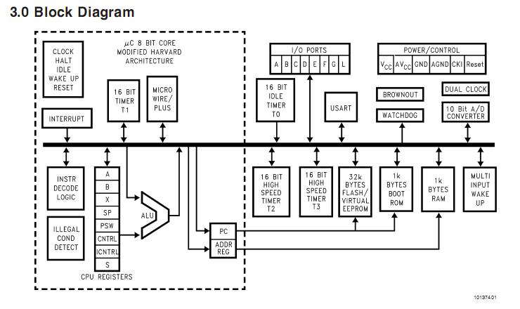
The COP8CBR9IMT8 is an 8-Bit CMOS Flash Microcontroller. The advanced features of it include Virtual EEPROM, A/D, High Speed Timers, USART, and Brownout Reset. The COP8CBR9IMT8 is suited for applications requiring a full featured, in-system reprogrammable controller with large memory and low EMI. The COP8CBR9IMT8 is used for development, pre-production and volume production with a range of COP8 software and hardware development tools.
Parametrics
COP8CBR9IMT8 absolute maximum ratings: (1)Supply Voltage (VCC):7V; (2)Voltage at Any Pin:-0.3V to VCC +0.3V; (3)Total Current into VCC Pin (Source):200 mA; (4)Total Current out of GND Pin (Sink):200 mA; (5)Storage Temperature Range:-65℃ to +140℃; (6)ESD Protection Level:2 kV (Human Body Model).
Features
COP8CBR9IMT8 features: (1)32 kbytes Flash Program Memory with Security Feature; (2)Virtual EEPROM using Flash Program Memory; (3)1 kbyte volatile RAM; (4)10-bit Successive Approximation Analog to Digital Converter (up to 16 channels); (5)100% Precise Analog Emulation; (6)USART with onchip baud generator; (7)2.7V to 5.5V In-System Programmability of Flash; (8)High endurance -100k Read/Write Cycles; (9)Superior Data Retention - 100 years; (10)Dual Clock Operation with HALT/IDLE Power Save Modes; (11)Idle Timer with programmable interrupt interval; (12)8-bit Stack Pointer SP (stack in RAM); (13)Two 8-bit Register Indirect Data Memory Pointers; (14)True bit manipulation; (15)WATCHDOG and Clock Monitor logic; (16)Software selectable I/O options; (17)MICROWIRE/PLUS (Serial Peripheral Interface Compatible); (18)Clock Doubler for 20 MHz operation from 10 MHz Oscillator, with 0.5 μs Instruction Cycle.
Diagrams

| Image | Part No | Mfg | Description | ![]() |
Pricing (USD) |
Quantity | ||||||||||||
|---|---|---|---|---|---|---|---|---|---|---|---|---|---|---|---|---|---|---|
![]() |
![]() COP8CBR9IMT8 |
![]() National Semiconductor (TI) |
![]() 8-bit Microcontrollers (MCU) |
![]() Data Sheet |
![]()
|
|
||||||||||||
![]() |
![]() COP8CBR9IMT8/NOPB |
![]() National Semiconductor (TI) |
![]() 8-bit Microcontrollers (MCU) |
![]() Data Sheet |
![]()
|
|
||||||||||||
(China (Mainland))










