Product Summary
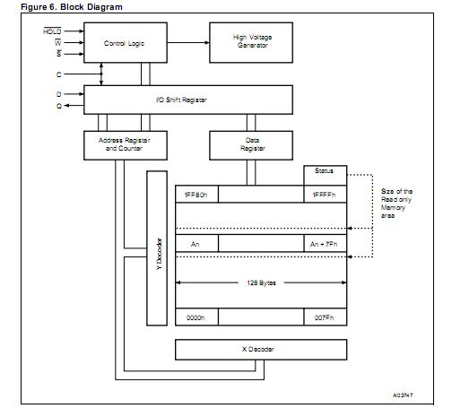
The M25P10-VMN6TP is a 1 Mbit low voltage paged flash memory with 20 MHz serial SPI bus interface. It is fabricated with STMicroelectronics High Endurance CMOS technology. The M25P10-VMN6TP is accessed by a simple SPI bus compatible serial interface. The bus signals are a serial clock input(C), a serial data input (D) and a serial data output(Q). The M25P10-VMN6TP connected to the bus is selected when the chip select input (S) goes low.
Parametrics
M25P10-VMN6TP absolute maximum ratings: (1)Ambient Operating Temperature:-40℃ to 85℃; (2)Storage Temperature:-65℃ to 150℃; (3)Lead Temperature during Soldering:215℃; (4)Input and Output Voltage Range (with respect to Ground):-0.3 to 5.0V; (5)Supply Voltage Range:–0.6 to 5.0V; (6)Electrostatic Discharge Voltage (Human Body model):2000V.
Features
M25P10-VMN6TP features: (1)1 Mbit paged flash memory; (2)128 byte page program in 3 ms typical; (3)256 Kbit sector erase in 1 s typical; (4)bulk erase in 2 s typical; (5)single 2.7 V to 3.6 V supply voltage; (6)SPI bus compatible serial interface; (7)20 MHz clock rate available ; (8)supports positive clock SPI modes; (9)deep power down mode (1 μA typical); (10)electronic signature; (11)10,000 ERASE/PROG cycles per sector; (12)20 years data retention; (13)–40 to 85℃ temperature range.
Diagrams

| Image | Part No | Mfg | Description | ![]() |
Pricing (USD) |
Quantity | ||||||||||||
|---|---|---|---|---|---|---|---|---|---|---|---|---|---|---|---|---|---|---|
![]() |
![]() M25P10-VMN6TP |
![]() Other |
![]() |
![]() Data Sheet |
![]() Negotiable |
|
||||||||||||
| Image | Part No | Mfg | Description | ![]() |
Pricing (USD) |
Quantity | ||||||||||||
![]() |
![]() M25P01K9FC |
![]() JAE Electronics |
![]() Automotive Connectors Pin Contact MX25 |
![]() Data Sheet |
![]()
|
|
||||||||||||
![]() |
![]() M25P05 |
![]() Other |
![]() |
![]() Data Sheet |
![]() Negotiable |
|
||||||||||||
![]() |
![]() M25P05-A |
![]() Other |
![]() |
![]() Data Sheet |
![]() Negotiable |
|
||||||||||||
![]() |
![]() M25P05-AVDW6TP |
![]() STMicroelectronics |
![]() Flash 512 KB Lo Vltg Serial Flash memory |
![]() Data Sheet |
![]() Negotiable |
|
||||||||||||
![]() |
![]() M25P05-AVMB6TP |
![]() |
![]() IC SRL FLASH 512KBIT 3V 8UFDFPN |
![]() Data Sheet |
![]() Negotiable |
|
||||||||||||
![]() |
![]() M25P05-AVMN6 |
![]() STMicroelectronics |
![]() Flash 3.0V 512K (64Kx8) |
![]() Data Sheet |
![]() Negotiable |
|
||||||||||||
(China (Mainland))










